|
F係列減速電機內部結構
1) 安裝
(1) 空心軸 (2) 緊(jǐn)固螺栓 (3) 孔用擋圈 (4) 用戶設備軸
安裝結構尺寸扭距表
|
機型
|
DH7 m)
|
DK (mm)
|
LX+2 (mm)
|
C7 (mm)
|
MS (Nm)
|
FA..27
|
25
|
25
|
22
|
16
|
20
|
|
FA..37
|
30
|
30
|
22
|
16
|
20
|
|
FA..47
|
35
|
35
|
28
|
18
|
20
|
|
FA..57 FA..67
|
40
|
40
|
36
|
18
|
40
|
|
FA..77
|
50
|
50
|
36
|
18
|
40
|
|
FA..87
|
60
|
60
|
42
|
22
|
80
|
|
FA..97
|
70
|
70
|
42
|
22
|
80
|
|
FA..107
|
90
|
90
|
50
|
26
|
200
|
|
FA..127
|
100
|
100
|
50
|
26
|
200
|
|
FA..157
|
120
|
120
|
50
|
26
|
200
|
注:
MS
為螺栓(shuān)扭緊力(lì)矩
2)
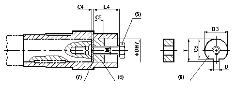
拆卸結構
(5)
拆卸螺(luó)栓 (6) 拆卸螺母 (7) 拆卸擋圈
拆卸結(jié)構尺寸表
|
機型
|
DH7
( Mm)
|
M
(mm)
|
C4
(mm)
|
C5
(mm)
|
C6
(mm)
|
U-0.5
(mm)
|
T-0.5
(mm)
|
D3-0.5
(mm)
|
L4
(mm)
|
|
FA..27
|
25
|
M10
|
5
|
10
|
20
|
7.5
|
28
|
24.7
|
35
|
|
FA..37
|
30
|
M10
|
5
|
10
|
25
|
7.5
|
33
|
29.7
|
35
|
|
FA..47
|
35
|
M12
|
5
|
12
|
29
|
9.5
|
38
|
34.7
|
45
|
|
FA..57 FA..67
|
40
|
M16
|
5
|
12
|
34
|
11.5
|
41.9
|
39.7
|
50
|
|
FA..77
|
50
|
M16
|
5
|
12
|
43.5
|
13.5
|
53.5
|
49.7
|
50
|
|
FA..87
|
60
|
M20
|
5
|
16
|
56
|
17.5
|
64
|
59.7
|
60
|
|
FA..97
|
70
|
M20
|
5
|
16
|
65.5
|
19.5
|
74.5
|
69.7
|
60
|
|
FA..107
|
90
|
M24
|
5
|
20
|
80
|
24.5
|
95
|
89.7
|
70
|
|
FA..127
|
100
|
M24
|
5
|
20
|
89
|
27.5
|
106
|
99.7
|
70
|
|
FA..157
|
120
|
M24
|
5
|
20
|
107
|
31
|
127
|
119.7
|
70
|
|